|
Тип
|
Фиксирующий, для ПЭ и ПВХ труб |
|
Материал
|
Высокопрочный чугун |
|
Cерия
|
623/10 |
|
Вид
|
Адаптер фланцевый |
|
DN
|
100 |
|
Давление,PN
|
10/16 |
|
Среда
|
Для воды, нейтральных жидкостей |
|
Т рабочей среды, ˚С
|
до +70°C |
|
Уплотнение
|
EPDM |
|
Присоединение
|
Соединитель Supa Plus |
|
Инженерная система
|
Водоснабжение, Сточные воды, Противопожарная защита, Орошение |
Фланцевый адаптер фиксирующий Supa Plus™ для ПЭ и ПВХ труб. Для воды и нейтральных жидкостей до макс. 70°C
Ассортимент соединительных фитингов AVK Supa Plus™ состоит из фиксирующих муфт, фланцевых адаптеров и обжимных заглушек, рассчитанных для применения на ПЭ и НПВХ трубопроводах. Муфтам Supa Plus™ характерна высокая надежность и очень легкий монтаж благодаря фиксирующему упругому уплотнению из резины и бронзовых захватов, допускающему угловой перекос труб ±3.5° и облегчающему вставку трубных концов даже больших диаметров. Болты М16 из нержавеющей стали с антифрикционным покрытием и высококачественное эпоксидное покрытие муфты обеспечивают надежную защиту от коррозии.
| Вариант 623/10-004 | |
|---|---|
| Соединение |
Соединитель Supa Plus |
| Материал | Высокопрочный чугун |
| Классификация давления | PN 16 |
Преимущества
- Комбинированное фиксирующее упругое уплотнение, состоящее из резины EPDM, разрешенной для применения в системах питьевого водоснабжения, и захватывающих фиксирующих сегментов из бронзы RG5 допускает угловой перекос труб ±3,5°;
- Конструкция с наружным расположением болтов исключает коррозию между ними и корпусом;
- Болты M16 из нержавеющей стали A2 и гайки из кислотостойкой нержавеющей стали A4 покрыты антифрикционным покрытием для облегчения их затяжки и предотвращения заедания резьбы;
- Может использоваться при подземной установке;
- Конструкция уплотнения дает возможность легко вставить трубу даже большого диаметра;
- Корпус из ковкого чугуна с эпоксидным покрытием по DIN 3476-1 и EN 14901
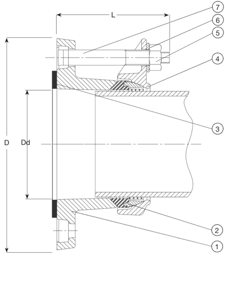
Размеры

Комплектующие
| 1. | Гайка | нержавеющая сталь А4 |
| 2. | Шайба, квадратный болт |
нержавеющая сталь А2 |
| 3. | Прокладка | резина EPDM |
| 4. |
Фланец адаптера |
высокопрочный чугун |
| 5. | Прижимная скоба |
высокопрочный чугун |
| 6. | Фиксирующая вставка | бронза RG5/EPDM |
Разрешения
- Belgaqua approved
Стандарты
- Конструкция по стандарту AS4020, Конструкция по стандарту AS4130, Конструкция по стандарту 4158, Конструкция по EN 12842
- Размеры фланцев и отверстий по EN1092-2 (ISO 7005-2), PN 16
Чтобы купить фланцевый адаптер AVK SUPA PLUS PN10/16, фиксирующего типа для ПЭ и ПВХ труб - оставьте заявку на сайте. Наш менеджер свяжется с вами для уточнения деталей заказа и рассчитает стоимость доставки.
Чтобы приобрести понравившийся товар, необходимо его заказать. Есть несколько сценариев того, как это можно сделать.
- Выбрать понравившийся товар и нажать кнопку «Заказать». При оформлении заказа заполнить форму. Вписать информацию в поля: ФИО, телефон и e-mail. Затем вам перезвонит менеджер, чтобы подтвердить ваше согласие на совершение покупки.
- Выбрать понравившийся товар и нажать кнопку «В корзину». Затем перейти в корзину и нажать «Оформить заказ». Далее заполнить форму с контактными данными и отправить заявку. С вами свяжется менеджер для дальнейшего обсуждения.
- Перейти в карточку товара и нажать «Купить в один клик». После нажатия нужно заполнить форму и отправить заявку. С вами свяжется менеджер для дальнейшего обсуждения.
Мы работаем с физическими и юридическими лицами. И предоставляем сразу два варианта оплаты.
- Оплата на расчётный счет через банк.
- Безналичный расчет. Принимаем карты Visa и MasterCard.
Доставляем продукцию по всей России автомобильным и железнодорожным транспортом. Автомобильные грузоперевозки осуществляются силами нашей логистической службы. В нашем распоряжении собственный автопарк.
Перевозки до 1,5 тонн производятся на автомобилях ПЗА - 2887 «Косуля», до 3,5 тонн – на автомобилях ПЗА - 3998 «Гризли». До 20 тонн – на грузовиках «ПАРНАС». Грузоперевозки объемом свыше 20 тонн осуществляются железнодорожным транспортом.
Доставка продукции производится по всей России. Стоимость услуги рассчитывается по конечному пункту назначения.


