|
Тип
|
Универсальный |
|
Материал
|
Высокопрочный чугун |
|
Cерия
|
603/A |
|
Вид
|
Адаптер фланцевый |
|
DN
|
400 |
|
Давление,PN
|
16 |
|
Среда
|
Для воды, нейтральных жидкостей |
|
Т рабочей среды, ˚С
|
до +70°C |
|
Присоединение
|
Соединитель Supa |
|
Инженерная система
|
Водоснабжение, Сточные воды, Противопожарная защита, Орошение |
|
Покрытие
|
EPDM |
Универсальный фланцевый адаптер SUPA, болты и гайки с покрытием Sheraplex, EPDM, DN50-400 предназначен для воды и нейтральных жидкостей до макс. 70°C
Ассортимент соединительной арматуры AVK Supa® состоит из универсальных прямых и переходных муфт, а также фланцевых адаптеров для труб из серого и ковкого чугуна, стали, НПВХ и асбестоцемента. Соединители Supa® легко устанавливаются благодаря антифрикционному покрытию болтов и гаек, а также возможности осевого отклонения соединяемых труб ±4°. Стальные болты и гайки с высококачественным покрытием Sheraplex, которое обеспечивают надежную защиту от коррозии.
| Вариант 603/A-4100 | |
|---|---|
| Соединение |
Соединитель Supa |
| Материал | Высокопрочный чугун |
| Классификация давления | PN 16 |
Преимущества
- Допускается осевое отклонение ±4°;
- Уплотнение из резины EPDM, разрешенной к применению в сетях питьевого водоснабжения;
- Болты покрыты антифрикционным покрытием для облегчения затяжки и исключения заедания резьбы;
- Ребра уплотнения компенсируют возможную неровность труб;
- 26мм допуска по диаметру при любом материале труб;
- Порошковое эпоксидное покрытие по DIN 3476-1 и EN 14901.
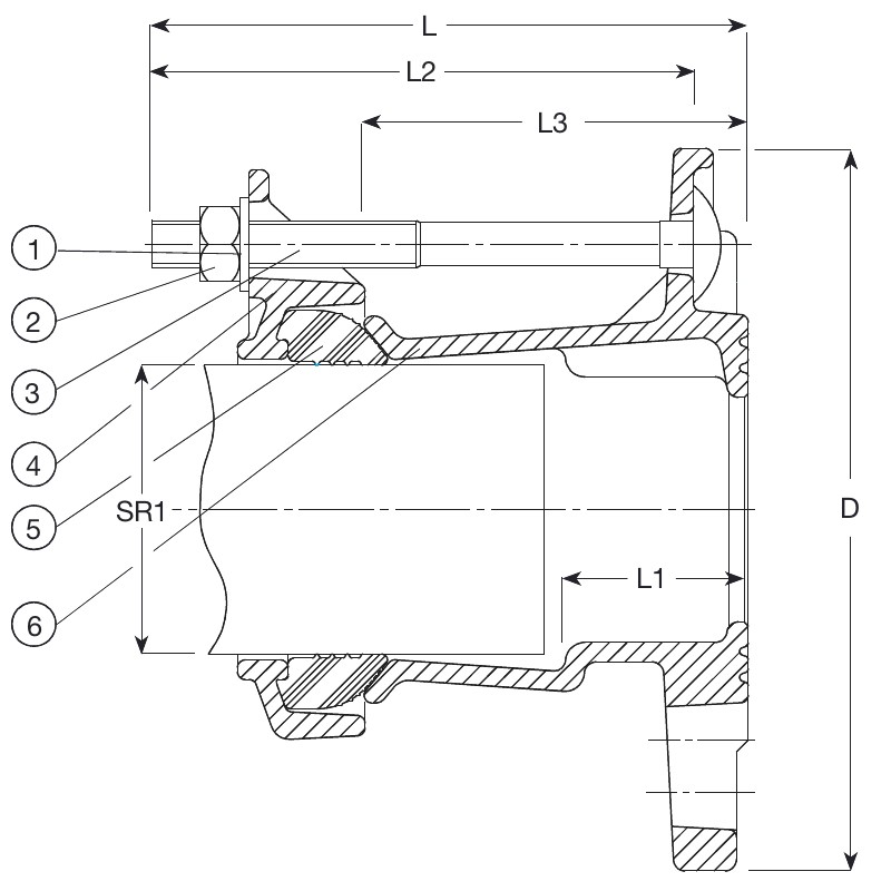
Размеры
*AVK International A/S оставляет за собой право вносить изменения в конструкцию и материалы, не ухудшающие эксплуатационные характеристики

Комплектующие
| 1. | Гайка, болт | cталь класса прочности 8.8 с покрытием Sheraplex |
| 2. | Шайба |
сталь, оцинкованная горячим погружением |
| 3. | Прокладка | резина EPDM |
| 4. |
Фланец адаптера |
высокопрочный чугун |
| 5. | Прижимная скоба |
высокопрочный чугун GJS-450-10 |
Разрешения
- Разрешение WRAS
Стандарты
- Конструкция по EN 14525
- Универсальная рассверловка фланцев по стандарту EN1092 (ISO 7005-2) для PN10/PN16
Чтобы купить фланцевый адаптер AVK SUPA PN16, универсальный, болты и гайки с покрытием Sheraplex, EPDM, DN50-400 - оставьте заявку на сайте. Наш менеджер свяжется с вами для уточнения деталей заказа и рассчитает стоимость доставки.
Чтобы приобрести понравившийся товар, необходимо его заказать. Есть несколько сценариев того, как это можно сделать.
- Выбрать понравившийся товар и нажать кнопку «Заказать». При оформлении заказа заполнить форму. Вписать информацию в поля: ФИО, телефон и e-mail. Затем вам перезвонит менеджер, чтобы подтвердить ваше согласие на совершение покупки.
- Выбрать понравившийся товар и нажать кнопку «В корзину». Затем перейти в корзину и нажать «Оформить заказ». Далее заполнить форму с контактными данными и отправить заявку. С вами свяжется менеджер для дальнейшего обсуждения.
- Перейти в карточку товара и нажать «Купить в один клик». После нажатия нужно заполнить форму и отправить заявку. С вами свяжется менеджер для дальнейшего обсуждения.
Мы работаем с физическими и юридическими лицами. И предоставляем сразу два варианта оплаты.
- Оплата на расчётный счет через банк.
- Безналичный расчет. Принимаем карты Visa и MasterCard.
Доставляем продукцию по всей России автомобильным и железнодорожным транспортом. Автомобильные грузоперевозки осуществляются силами нашей логистической службы. В нашем распоряжении собственный автопарк.
Перевозки до 1,5 тонн производятся на автомобилях ПЗА - 2887 «Косуля», до 3,5 тонн – на автомобилях ПЗА - 3998 «Гризли». До 20 тонн – на грузовиках «ПАРНАС». Грузоперевозки объемом свыше 20 тонн осуществляются железнодорожным транспортом.
Доставка продукции производится по всей России. Стоимость услуги рассчитывается по конечному пункту назначения.


