|
Тип
|
Нефиксирующий, для ВЧШГ труб |
|
Материал
|
Высокопрочный чугун |
|
Cерия
|
05/G |
|
Вид
|
Комби фланец |
|
DN
|
50 |
|
Давление,PN
|
10/16 |
|
Среда
|
Для воды, нейтральных жидкостей |
|
Т рабочей среды, ˚С
|
до +70°C |
|
Уплотнение
|
EPDM |
|
Присоединение
|
Фланцевое |
|
Инженерная система
|
Водоснабжение, Сточные воды, Орошение |
Комби фланец нефиксирующего типа для труб из ВЧШГ. Для воды и нейтральных жидкостей до 70°C.
Ассортимент комби фланцев AVK включает в себя 2 типа фланцев: фиксирующего типа для ПЭ, ПВХ и труб из высокопрочного чугуна, а также нефиксирующего типа для труб из ПВХ, стали и высокопрочного чугуна. Порошковое эпоксидное покрытие по DIN 3476-1 и EN 14901. Дизайн фланцев дает возможность регулирования глубины вставки труб независимо от исполнения их среза, и компенсирует их возможный перекос. Уплотнения из резины EPDM одобрены к применению в системах питьевого водоснабжения.
| Вариант 05/66-002 | |
|---|---|
| Соединение | Фланцевое |
| Материал | Высокопрочный чугун |
| Классификация давления | PN 10/16 |
Преимущества
- Благодаря ширине уплотнительного кольца, на котором четко отмечена буферная полоса, можно легко регулировать положение трубы;
- Не требует совершенно ровных фасок или правильных углов среза при условии установки трубы в пределах буферной полосы уплотнительного кольца;
- Бочкообразный профиль уплотнения допускает перекос / осевое отклонение трубы до ± 3,5°;
- Во время монтажа труба не сдвинется в глубину фланца, что способствует герметичности соединения;
- Уплотнения из резины EPDM, разрешенной для контакта с питьевой водой;
- Резина уплотнения высокостойкая к химреагентам для обработки воды, и имеет высокую степень восстановляемости формы после сжатия;
- Уплотнение опирается на гильзу из ковкого чугуна с эпоксидным покрытием;
- Фланец из ковкого чугуна с эпоксидным покрытием по DIN 3476-1 и и EN 14901;
- Комби фланец поставляется в комплекте с уплотнением;
- Расчетное давление: 29 бар по EN 545. Рабочее давление: макс. 16 бар. Максимальное испытательное давление – по стандарту труб.
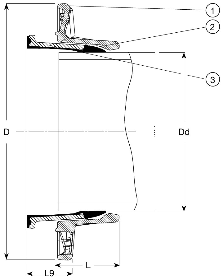
Размеры

*AVK International A/S оставляет за собой право вносить изменения в конструкцию и материалы, не ухудшающие эксплуатационные характеристики

Комплектующие
| 1. |
Фланец |
высокопрочный чугун GJS-500-7 |
| 2. | Уплотнение |
резина EPDM |
| 3. |
Втулка |
высокопрочный чугун |
Разрешения
- Belgaqua approved
Стандарты
- Конструкция по EN 12842
- Рассверловка фланцев по ГОСТ 33259-2015 Ряд 1 (EN1092-2; ISO 7005-2)
Чтобы приобрести понравившийся товар, необходимо его заказать. Есть несколько сценариев того, как это можно сделать.
- Выбрать понравившийся товар и нажать кнопку «Заказать». При оформлении заказа заполнить форму. Вписать информацию в поля: ФИО, телефон и e-mail. Затем вам перезвонит менеджер, чтобы подтвердить ваше согласие на совершение покупки.
- Выбрать понравившийся товар и нажать кнопку «В корзину». Затем перейти в корзину и нажать «Оформить заказ». Далее заполнить форму с контактными данными и отправить заявку. С вами свяжется менеджер для дальнейшего обсуждения.
- Перейти в карточку товара и нажать «Купить в один клик». После нажатия нужно заполнить форму и отправить заявку. С вами свяжется менеджер для дальнейшего обсуждения.
Мы работаем с физическими и юридическими лицами. И предоставляем сразу два варианта оплаты.
- Оплата на расчётный счет через банк.
- Безналичный расчет. Принимаем карты Visa и MasterCard.
Доставляем продукцию по всей России автомобильным и железнодорожным транспортом. Автомобильные грузоперевозки осуществляются силами нашей логистической службы. В нашем распоряжении собственный автопарк.
Перевозки до 1,5 тонн производятся на автомобилях ПЗА - 2887 «Косуля», до 3,5 тонн – на автомобилях ПЗА - 3998 «Гризли». До 20 тонн – на грузовиках «ПАРНАС». Грузоперевозки объемом свыше 20 тонн осуществляются железнодорожным транспортом.
Доставка продукции производится по всей России. Стоимость услуги рассчитывается по конечному пункту назначения.

